자동 초점
"오늘의AI위키"의 AI를 통해 더욱 풍부하고 폭넓은 지식 경험을 누리세요.
1. 개요
자동 초점은 카메라 렌즈의 초점을 자동으로 조절하는 기술이다. 1960년대부터 라이카가 관련 기술을 개발했으며, 1977년 코니카 C35 AF가 최초의 대량 생산된 자동 초점 카메라였다. 자동 초점 방식은 액티브 방식과 패시브 방식으로 나뉘며, 액티브 방식은 초음파나 적외선을 사용하고, 패시브 방식은 물체에서 반사된 빛을 이용한다. 수동 방식에는 이중상 합치, 대비 검출, 위상차 검출 방식 등이 있다. 자동 초점 모드에는 원샷, 동체 추적, AI Focus AF가 있으며, 트랩 포커스 기술도 존재한다. 최근에는 렌즈 내 모터 방식이 사용되며, 하이브리드 자동 초점 기술도 발전하고 있다.
더 읽어볼만한 페이지
- 사진 장비 - 스테디캠
스테디캠은 카메라를 안정화시켜 부드러운 영상을 촬영하는 장비로, 개럿 브라운이 개발한 '브라운 스태빌라이저'에서 시작되었으며 영화, 드라마 등 다양한 영상 제작에 활용되어 영화사에 큰 영향을 미쳤다. - 사진 장비 - 사진 필름
사진 필름은 빛에 반응하는 할로겐화은 입자를 사용하여 이미지를 기록하는 얇은 매체로, 흑백, 컬러 등 다양한 종류와 감광도, 형태, 규격 등으로 분류되며, 디지털 카메라의 등장으로 사용량이 감소했으나 독특한 표현 방식으로 활용된다. - 사진술 - 영상
영상은 이미지 제작의 역사, 종류, 기술적 측면, 사회문화적 의미 등을 포괄하는 개념이며, 기록, 종교, 소통 등 다양한 역할을 해왔고, 양식, 기술, 사회문화적 맥락 등 다양한 기준으로 분류된다. - 사진술 - 초점 심도
초점 심도는 이미지 센서 또는 필름 평면에서 허용 가능한 선명도를 유지하는 이미지 생성 영역의 범위로, 피사계 심도와 구별되며, 조리개 값, 초점 거리, 피사체 거리 등에 영향을 받고, 사진 촬영에서 피사계 심도에 비해 덜 중요하지만 소형 카메라나 영화 촬영에서는 고려해야 할 요소이며, 천문학에서는 파면 오차를 기준으로 다르게 정의된다.
자동 초점 | |
---|---|
개요 | |
종류 | 사진기 기능 |
관련 | 사진술 |
작동 방식 | 수동 초점 (MF) 자동 초점 (AF) |
상세 정보 | |
기술 | 위상차 검출 방식 콘트라스트 검출 방식 하이브리드 방식 |
제어 방식 | 단일 AF 연속 AF 피사체 추적 AF |
특징 | 빠르고 정확한 초점 다양한 피사체 추적 기능 저조도 환경에서의 성능 향상 |
활용 | |
적용 분야 | 디지털 카메라 스마트폰 카메라 비디오 카메라 현미경 망원경 기타 광학 기기 |
장점 | 사용 편의성 향상 빠른 촬영 가능 움직이는 피사체 촬영 용이 |
단점 | 완벽하지 않은 초점 정확도 특정 환경에서의 성능 저하 배터리 소모 증가 가능성 |
관련 용어 | |
관련 용어 | 초점 거리 심도 조리개 렌즈 센서 이미지 처리 |
2. 역사
1960년부터 1973년까지 라이츠(Leica)[1]는 다양한 자동 초점 및 관련 센서 기술에 대한 특허를 받았다. 1976년, 라이카는 포토키나에서 이전에 개발한 기술을 기반으로 한 카메라, 코레포트(Correfot)를 선보였고, 1978년에는 자동 초점 기능을 갖춘 SLR 카메라를 전시했다.
최초의 대량 생산된 자동 초점 카메라는 1977년에 출시된 코니카 C35 AF로, 일본에서는 "자스핀 코니카"라는 애칭으로 불렸다.[17] 이 카메라는 자동 콤팩트 카메라였다. 이후 야시카, 후지필름, 미놀타, 캐논, 로라이, 마미야, 올림푸스, 펜탁스, 니콘 등에서 자동 초점 카메라를 출시했다.
1978년, 폴라로이드 SX-70 소나 원스텝은 최초의 자동 초점 일안 반사식 카메라였다. 이 카메라는 초음파를 사용하여 거리를 측정했다.
1981년, 펜탁스 ME-F는 최초의 자동 초점 35mm SLR였다. 이 카메라는 카메라 본체에 장착된 초점 센서와 전동식 렌즈를 사용했다. 1983년, 니콘은 F3AF를 출시했는데, ME-F와 유사한 방식이었다.[2]
1985년, 미놀타 7000은 AF 센서와 구동 모터가 카메라 본체에 모두 내장된 최초의 SLR이었다. 니콘 또한 F3AF 시스템을 포기하고 자동 초점 모터와 센서를 바디에 통합했다.
캐논은 1987년 FD 마운트를 단종하고 전동 렌즈를 갖춘 EF 마운트로 전환했다.
펜탁스는 1991년 SLR 카메라에 초점 거리 측정을 최초로 도입했다.[3] 1992년, 니콘은 렌즈 내장 모터 방식(AF-I 및 AF-S 렌즈)으로 다시 전환했다. 현재 니콘의 보급형 DSLR에는 AF 렌즈에 모터가 탑재되어 있어 바디 내에 초점 모터가 없다.
2. 1. 미놀타-하네웰 특허 소송
1987년, 미국의 하네웰은 미놀타(현 코니카 미놀타)가 제조·판매한 자동 초점식 일안 반사식 카메라 α 시리즈의 자동 초점 기구가 자사의 특허를 침해했다며 미국 연방 지방 법원에 제소했다.[17] 1992년 특허 침해를 인정하는 평결이 나왔고, 최종적으로 미놀타는 약 1650억엔을 지불하는 내용의 화해에 응했다.[17] 이는 미국식 소송 사회의 엄격함, 지적 재산권의 중요성을 일본 국내에 알린 사건이다.[17]3. 방식
자동 초점 방식은 크게 능동 방식(Active System)과 수동 방식(Passive System)으로 나뉜다. 능동 방식은 카메라가 초음파나 적외선을 방출하여 거리를 측정하는 반면, 수동 방식은 물체로부터 반사된 빛을 이용한다.[19]
발전된 자동 초점 방식에서는 여러 개의 초점 포인트를 사용한다. 예를 들어 캐논 EOS-1D 시리즈는 45개의 자동 초점 포인트를 가지고 있다. 자동 초점은 일반적으로 수동 초점보다 빠르고 정확하다. 많은 카메라가 프레임에 여러 개의 자동 초점 포인트를 가지고 있으며, 자동으로 피사체를 감지하여 초점을 맞춘다. 일부 카메라는 움직이는 물체의 속도와 가속도를 측정하여 초점을 유지하는 동체 추적 기능(Predictive autofocus, AI Servo AF, Continuous-servo AF)을 제공한다.[20][21][19]
디지털 카메라 중 디지털 SLR 카메라는 자동 초점을 위한 별도의 CCD/CMOS 이미지 센서를 가지고 있다.
자동 초점 방식은 크게 '''액티브 방식'''과 '''패시브 방식'''으로 나뉘며, 두 방식을 모두 사용하는 제품도 있다.
세계 최초의 자동 초점 카메라는 1977년 11월에 출시된 코니카 '''C35AF'''(애칭 ''''자스핀 코니카'''')이다.[17] 이 카메라는 이중상 합치 방식을 자동화한 원리를 사용했다. 이후 야시카, 미놀타, 캐논 등 여러 회사에서 자동 초점 카메라를 출시했다.
니콘은 '''니콘 F2''' 시대에 '''오토 포커스 니코르 80mm F4.5'''를 시제품으로 제작했지만 시판하지는 않았다. "세계 최초의 시판 오토 포커스 일안 반사식 카메라"는 리코의 '''리코 XR6'''과 '''AF 리케논 50mm F2''' 세트이다.
1981년에는 '''펜탁스 ME F'''와 '''SMC 펜탁스 AF 줌 35-70mm F2.8''' 세트가 출시되었는데, 이는 카메라 바디에 TTL 포커스 센서를 탑재한 "세계 최초의 시판 오토 포커스 일안 반사식 카메라"로 알려져 있다.
렌즈 제조사인 코시나는 렌즈만으로 자동 초점이 가능한 '''AF 리케논 50mm F2'''처럼 '''75-200F4.5AF'''와 '''28-70mmF3.5-4.8AF'''를 발매했다.
프로 사양 기종으로는 '''니콘 F3AF'''와 '''AiAF 니코르 80mm F2.8S''', '''AiAFED 니코르 200mm 3.5S''', '''TC-16S''' 세트가 있다.
1985년 2월에 발매된 '''미놀타 α-7000'''은 자동 초점 일안 반사식 카메라를 대중화시킨 제품이다.
교세라는 콘탁스 브랜드로 필름 상면을 이동시켜 자동 초점 동작을 하는 '''콘탁스 AX'''를 판매하기도 했다.
3. 1. 능동 방식
능동 방식은 카메라가 초음파나 적외선을 방출하여 거리를 측정하는 방식이다. 이 방식은 다음과 같은 두 시스템으로 구성된다.[19]- 거리 측정 방식
- 광학 시스템의 초점 조절 방식 (렌즈 이동)
이 두 방식은 전자적 혹은 기계적·전기역학적(electromechanical)으로 연동되어 동작한다.[19]
능동 방식은 초음파를 이용하는 경우와 적외선을 이용하는 경우로 나뉜다.
초음파를 이용하는 경우, 카메라의 초음파 발생 장치에서 방출된 초음파가 물체로부터 반사되어 오기까지의 시간을 측정하여 거리를 계산한다. 이러한 방식을 사용하는 카메라로는 폴라로이드의 Spectra, SX-70가 있다.[19]
적외선을 이용하는 거리 측정 방법에는 삼각 측량 및 물체로부터 반사되어 오는 적외선의 세기 측정, 물체로부터 반사되어 오는 적외선의 시간 측정과 같은 세 가지 방법이 있다. 카메라의 자동 초점 방식에는 이들 중 삼각 측량 방식이 주로 사용된다. 카메라에서 계속적으로 방향을 달리하며 적외선을 조사(照射)하고, 물체로부터 반사되어 오는 적외선의 세기가 최대가 될 때 적외선 조사를 멈춘다. 이때의 적외선 조사 각도로 삼각 측량을 수행한다. 적외선 이용 방식을 사용하는 대표적인 카메라로는 니콘 35TiQD, 28TiQD 및 캐논 AF35M을 들 수 있다. 적외선 이용 방식은 몇몇 컴팩트 필름 카메라와 초기의 비디오 캠코더에서도 쓰인다.[19]
능동 방식은 카메라와 물체 사이에 창문이 있는 경우, 많은 경우 초점을 맞추지 못한다. 이는 유리가 초음파나 적외선을 반사하기 때문이다.[19][22]
또한 능동 방식은 초음파나 적외선이 도달할 수 있는 거리에 한계가 있기 때문에 먼 거리에 있는 물체에는 초점을 맞출 수 없다. 또한 TTL(Through-the-lens) 방식이 아니어서 발생하는 시차(parallax) 때문에 카메라 렌즈와 매우 근접한 물체에도 초점을 정확히 맞출 수 없다.
능동 방식은 현재 시판되는 디지털 카메라에는 거의 사용되지 않으며, 간혹 보이는 자동 초점 보조광(AF assist beam)은 수동 자동 초점 방식을 보조하기 위한 것이다.
3. 2. 수동 방식
수동 방식(Passive System)은 물체로부터 자연적으로 반사된 빛을 이용하여 초점을 맞춘다.[19] 주로 촬영에 쓰이는 카메라 렌즈를 통해 들어오는 빛을 이용하는 TTL 방식이 사용된다.수동 자동 초점 방식은 크게 3가지가 있다.[19]
- 이중상 합치 방식
- 대비 검출 방식
- 위상차 검출 방식
이중상 합치 방식을 제외하고는 TTL 방식이 주로 쓰인다. 수동 방식은 영상 분석을 통해 초점을 맞추고, 초점이 맞은 상태에서의 렌즈 위치를 토대로 물체와의 거리를 계산해낼 수 있다.

수동 AF 시스템은 광학 시스템에 들어오는 이미지의 수동적인 분석을 수행하여 정확한 초점을 결정한다. 일반적으로 초음파 또는 적외선과 같은 에너지를 피사체에 직접 전달하지 않는다. 하지만, 수동 측정을 할 수 없을 정도로 빛이 부족할 때는 일반적으로 적외선인 오토포커스 보조 빔이 필요하다. 수동 자동 초점은 위상 검출 또는 콘트라스트 측정을 통해 구현할 수 있다.
일부 카메라에는 저조도 및 저대비 상황에서 수동 초점 시스템을 돕기 위해 어시스트 램프(AF 보조광)가 내장되어 있다. 이 램프는 피사체에 가시광선 또는 IR 광선을 투사하며, 카메라의 자동 초점 시스템은 이를 사용하여 초점을 맞춘다.
많은 카메라와 거의 모든 카메라 폰에는 전용 자동 초점 어시스트 램프가 없다. 대신, 내장 플래시를 사용하여 빛을 터뜨려 피사체를 조명한다. 이것은 전용 어시스트 램프와 동일한 방식으로 자동 초점 시스템을 돕지만 사람들을 놀라게 하거나 짜증나게 하는 단점이 있다.
외부 플래시 건에는 카메라 플래시의 스트로보를 대체하는 통합 자동 초점 어시스트 램프가 있기도 하다. 저조도에서 대비 기반 AF 시스템을 돕는 또 다른 방법은 레이저 패턴을 피사체에 쏘는 것이다.
자동 초점 방식은 크게 '''액티브 방식'''과 '''패시브 방식'''의 두 가지로 구분된다. 패시브 방식은 액티브 방식처럼 적외선 등을 사용하지 않고, 렌즈를 통과한 빛을 이용하여 측거를 수행하는 방식이다. 주로 일안 반사식 카메라에서 사용되는 위상차 검출 방식이나, 콤팩트 디지털 카메라에서 사용되는 콘트라스트 검출 방식, 필름식 콤팩트 카메라에서 사용되었던 패시브 외광 방식 등이 있다. 이러한 여러 방식을 병용한 제품도 있다(하이브리드 방식). 패시브 방식은 액티브 방식이 어려워하는 원거리 초점도 맞출 수 있지만, 어두운 곳이나 콘트라스트가 낮은 물체에 초점을 맞추는 것을 어려워한다. 어두운 곳에서의 초점 맞추기를 돕기 위해, 조명(보조광)을 내장하고 있는 카메라가 많다.
세계 최초로 자동 초점 기능을 탑재한 시판 카메라는 1977년 11월에 출시된 애칭 ''''자스핀 코니카'''''로 불리는 코니카 '''C35AF'''이다.[17] C35AF 개발에는 우치다 야스오, 모모세 하루히코 등이 참여했다.[18]
3. 2. 1. 이중상 합치 방식
이중상 합치 방식은 사용자가 이중상 합치 레인지파인더 카메라(coincidence rangefinder camera)에서 삼각 측량 원리를 이용하여 눈으로 초점 맞추는 것을 CCD 센서와 컴퓨터가 대신하는 것이다. 별도의 두 개 창을 통해 얻어진 두 개의 이미지를 비교하여 초점을 맞춘다.[19]
두 이미지를 비교하는 데는 다음 두 가지 작동 방식이 사용된다.
- 렌즈를 무한대 초점 위치에서 가장 가까운 초점 위치까지 이동시키면서 두 이미지를 계속적으로 비교한다. 두 이미지가 일치하면 초점이 맞은 상태이므로 렌즈는 이동을 멈춘다.
- 두 이미지의 위상차를 분석하여 어느 방향으로 이동시켜야 하는지를 파악하고, 이 결과에 따라 렌즈를 이동시킨다.
콘탁스 G 시리즈, 하니웰의 Visitronic 모듈을 사용하는 코니카 C35A 등에서 이중상 합치 방식을 사용한다.[19] 캐논에서는 SST(Solid State Triangulation)란 이름으로 이 방식을 구현하였고, 캐논 AF514XL-S 영화 카메라와 캐논 New FD 35-70mm f/4 AF 렌즈에 채용하였다.[23]
이중상 합치 방식은 TTL 방식이 아니기 때문에 TTL 위상차 검출 방식에 비해 여러 장단점을 갖는다. 광각 렌즈 사용시 TTL 위상차 검출 방식은 축소된 영상과 왜곡 때문에 정확성이 떨어질 수 있는 데 반해, 이중상 합치 방식은 이러한 문제가 없다. 하지만 보통 90mm 이상의 망원에서는 렌즈를 통해 확대된 영상을 분석하는 TTL 위상차 검출 방식이 더 정확하고, 접사할 때에도 시차(parallax)를 갖지 않는 TTL 위상차 검출 방식이 더 정확하다.[24]
3. 2. 2. 대비 검출 방식
렌즈를 움직이면서 영상 일부(주로 중앙 부분)의 대비를 지속적으로 계산하고, 대비가 최대가 되었을 때 초점이 맞았다고 판단하는 방식이다.[19] 비디오 카메라와 컴팩트 디지털 카메라에서 흔히 쓰이는 방식이다. 라이브뷰를 지원하는 DSLR의 경우, 라이브뷰 시에 대비 검출 방식 자동 초점 기능을 제공하는 경우가 많다.

대비 검출 방식에서 하나의 자동 초점 포인트에 사용되는 CCD 센서가 1개뿐인 경우, 렌즈를 어떤 방향으로 움직여야 하는지 미리 알 수 없다. 하지만 과거 몇몇 필름 SLR 카메라에서 사용되는 대비 검출 방식은 하나의 자동 초점 포인트에 2~3개의 CCD 센서를 사용하여 렌즈를 움직일 방향을 미리 알 수 있었다.[19]
현재 시판 중인 대부분의 컴팩트 디지털 카메라는 TTL 대비 검출 방식만을 사용한다. 컴팩트 디지털 카메라의 경우 별도의 자동 초점 센서를 가지고 있지 않고, 영상 CCD/CMOS 이미지 센서를 통해 얻어진 영상의 대비를 분석하여 초점을 맞춘다. 이는 하나의 자동 초점 포인트에 CCD 센서가 1개뿐인 것과 같으므로, 렌즈를 어떤 방향으로 어느 정도 움직여야 하는지 미리 알 수 없다. 또한 렌즈를 조금씩 움직일 때마다 영상 일부의 대비를 지속적으로 계산해야 한다. 따라서 대부분의 경우 TTL 위상차 검출 방식을 사용하는 SLR 카메라가 자동 초점 속도가 빠르다.
라이브뷰를 지원하는 DSLR의 경우, 라이브뷰 시에 대비 검출 방식 자동초점 기능을 제공하는 경우가 많다. 이 경우, 영상 CCD/CMOS 이미지 센서를 사용하여 대비를 검출한다.
콘트라스트 AF 방식은 렌즈를 통해 센서 필드 내의 콘트라스트를 측정하여 초점을 맞추는 방식이다. 센서의 인접 화소 간의 콘트라스트는 이미지의 초점이 정확해짐에 따라 자연스럽게 증가한다. 이를 통해 최대 콘트라스트가 감지될 때까지 초점 렌즈를 움직여 초점을 맞춘다. 이 방법에서는 AF가 실제 거리 측정을 전혀 수행하지 않는다. 이는 콘트라스트 손실이 피사체가 카메라 쪽으로 다가왔기 때문인지, 또는 카메라에서 멀어졌기 때문인지 구별할 수 없기 때문에 움직이는 피사체를 추적하는 데 심각한 문제를 일으킨다.
위상차 AF처럼 전용 센서를 사용하지 않고, 실제로 촬상 소자에 찍힌 이미지 자체를 이용하여 AF를 수행하므로, 콘트라스트 AF는 위상차 AF보다 AF 정밀도가 높다. 그러나 콘트라스트 AF에서는 여러 번 렌즈를 움직여 콘트라스트가 가장 높은 위치를 찾기 때문에, 원리적으로 위상차 AF보다 초점 맞추는 속도가 늦어진다.
콘트라스트 AF는 메커니컬 셔터나 반사 미러가 없는 디지털 카메라에서 일반적인 방법이다. 대부분의 일안 반사식 카메라에서는 라이브 뷰 모드에서 초점을 맞출 때 이 방법(또는 콘트라스트와 위상차 AF의 하이브리드)을 사용한다. 미러리스 일안 렌즈 카메라에서는 일반적으로 콘트라스트 AF를 사용하지만, 일부 모델에서는 이미지 내 위상차 AF를 병용하기 때문에 AF 추적 성능이 크게 향상된다.
콘트라스트 AF는 위상차 AF와 비교하여 렌즈 설계에 다른 제약을 가한다. 위상차 AF에서는 렌즈를 빠르게 초점 위치로 이동시켜야 하지만, 콘트라스트 AF에서는 초점 영역을 빠르게 이동시키고 최대 콘트라스트가 감지된 시점에서 정확하게 멈추는 렌즈가 사용된다. 이는 위상차 AF용으로 설계된 렌즈는 콘트라스트 AF를 사용하는 카메라 본체에서는 종종 작동하지 않는다는 것을 의미한다.
콘트라스트 AF는 위상차 AF, 이미지 내 위상차 AF에 비해 다음과 같은 장점과 단점을 가진다.
'''장점'''
- 전용 AF 기구를 필요로 하지 않으므로, 콤팩트 디지털 카메라, 미러리스 일안 렌즈 카메라, 스마트폰에도 탑재가 가능하다.
- 위상차 AF에서는 사용할 수 없는 동영상 촬영이나 라이브 뷰 촬영에서도 사용 가능하다.
- 실제 이미지를 사용하기 때문에, 위상차 AF, 이미지 내 위상차 AF에 비해 AF 정밀도가 높다.
- 저조도에서의 AF 동작도 가능하다.
'''단점'''
- 렌즈를 여러 번 움직여 초점을 맞추기 때문에, AF 속도가 느리다.
3. 2. 3. 위상차 검출 방식
렌즈를 통해 들어오는 빛을 한 쌍으로 나누어 비교함으로써 초점이 맞았는지 판단한다.[19][25] 이는 스플릿 이미지 스크린을 통해 수동으로 초점을 맞추는 것과 비슷한 원리로 동작한다.[26] 현재 시판 중인 대부분의 필름 SLR 카메라 및 디지털 SLR 카메라는 위상차 검출 방식을 사용한다.

위상차 검출 방식에서 단일 축(single-axis 혹은 single-line) 자동 초점 포인트는 보통 1쌍의 CCD/CMOS 이미지 센서로 이루어진다. 각 CCD/CMOS 이미지 센서는 라인 센서로서 길쭉한 모양을 가지는 것이 보통이다. 따라서 수평·수직 방향 중 한 방향의 대비(contrast, 혹은 디테일)만을 검출할 수 있다. 이에 반해 크로스 타입(cross-type) 자동 초점 포인트는 보통 두 쌍의 CCD/CMOS 이미지 센서로 이루어지고, 수평·수직 방향 모두의 대비를 검출하여 초점을 맞출 수 있다.[25]
캐논 EOS 3, 1D/1Ds의 경우 45개 포인트 중 7개가 크로스 타입(중앙 포인트는 f/4와 같거나 더 밝은 렌즈에서만 크로스 타입 센서로 동작하고, 나머지 6개 포인트는 f/2.8과 같거나 더 밝은 렌즈에서만 크로스 타입 센서로 동작한다) 센서이며, 나머지는 수평 방향의 선들을 감지할 수 있다.[27] 캐논 EOS-1D Mark III의 경우 45개 포인트 중 19개가 크로스 타입이다.[28] 1D/1Ds 시리즈, 캐논 EOS 40D, 캐논 EOS 50D를 제외한 다른 캐논 DSLR의 경우 중앙 포인트만 렌즈 밝기와 관계없이 크로스 타입 센서로 동작한다.
니콘 D2H, D2Hs, D2x, F6에 쓰이는 Multi-CAM 2000 모듈의 경우 11개의 포인트 중 9개가 크로스 타입이다. 니콘 F80, D100, D70(s), D50에 쓰이는 Multi-CAM 900 모듈의 경우 중앙 포인트만 크로스 타입이다.
미놀타 다이낙스 7, 캐논 EOS 40D의 중앙 AF 포인트는 대각선 방향도 검출이 가능한 듀얼 크로스 헤어 타입이다. 이 중앙 AF 포인트에는 4쌍의 CCD/CMOS 라인 센서가 사용된다. 대각선 방향 센서는 f/2.8과 같거나 더 밝은 렌즈에서만 동작한다.[29][25]
위상차 검출 방식은 한 쌍의 CCD/CMOS 이미지 센서로부터 얻어진 이미지 두 개의 위상차를 분석하여, 렌즈를 어떤 방향으로 얼마만큼 이동해야 초점이 맞는지 계산할 수 있다. 따라서 렌즈를 움직이는 동안 계속적으로 영상을 분석해야 하는 대비 검출 방식보다 빠른 자동 초점이 가능하다.[25]
위상차 검출 방식은 또한 움직이는 물체의 속도 및 가속도를 측정하여 사진이 찍히는 순간 물체가 있을 곳에 초점을 맞추는 것도 가능하게 한다. 이를 동체 예측 자동 초점(Predictive AF)이라고 한다.[20]
컴팩트 디지털 카메라의 경우 렌즈와 센서가 가깝기 때문에 빔 스플리터 등이 필요한 TTL(Through-the-lens) 위상차 검출 방식을 적용하기 힘들다. 이 때문에 대부분의 컴팩트 디지털 카메라는 상대적으로 느리지만 정확한 TTL 대비 검출 방식만을 사용한다. 예외적으로 올림푸스의 CAMEDIA C-8080 및 C-7070, 코닥의 EasyShare DX7440, 캐논의 Powershot Pro1과 같은 몇몇 컴팩트 디지털 카메라에서는 외부 센서를 사용하는 위상차 검출 방식과 TTL 대비 검출 방식을 동시에 채용하여 빠르고도 정확한 자동 초점을 가능하게 하였다. 이러한 카메라들에 사용되는 위상차 검출 방식은 TTL 방식이 아니기 때문에, 접사 때나 광각·망원 어댑터를 사용할 때 위상차 검출 방식은 사용하지 말아야 한다.

위상차 검출 방식은 다음과 같은 경우 초점을 못 맞추거나 사진가의 의도와 다른 물체에 초점을 맞출 수 있다.[30] 다음 중 많은 사항은 다른 자동 초점 방식에도 적용된다.
- 대비(contrast)가 적은 물체(파란 하늘, 단색 벽 등): 자동 초점에 쓰이는 CCD/CMOS 이미지 센서가 물체의 대비(디테일)를 검출하지 못하기 때문이다. 이러한 경우 패턴 형태로 된 자동 초점 보조광이 도움을 줄 수 있다.
- 빛이 적은 곳의 물체: 위 ‘대비가 적은 물체’와 동일한 원인을 가진다.
- 강한 역광 속에 있는 물체(강한 해를 등진 인물 등): 강한 역광 속에서는 번쩍거림(glare) 때문에 전체적으로 대비가 떨어지게 되어, 위 ‘대비가 적은 물체’에 초점을 맞추는 것과 동일하게 된다.
- 반사성이 강한 물체(반사성이 강한 표면을 가진 자동차).
- 자동 초점 포인트(focus area)가, 밝기가 급격히 변하는 곳에 있을 때(물체가 반쯤 그늘에 있을 때).
- 물체가 초점 범위(자동 초점 센서가 커버하는 영역)보다 작은 경우(초점 범위가 전경의 물체와 먼 거리의 빌딩을 모두 포함하는 경우): 자동 초점 방식은 물체와 배경 중 디테일이 강한 쪽에 초점을 맞추게 되고 이는 사진가의 의도와 일치하지 않을 수 있다. 이는 전핀(front-focusing) 혹은 후핀(back-focusing)의 흔한 원인이다. 많은 경우 자동 초점 센서가 커버하는 영역은 뷰파인더 상의 자동 초점 포인트보다 커서 사용자의 의도와 다른 물체에 초점을 맞추게 되는 경우가 있다.
- 뷰파인더 상의 자동 초점 포인트와 실제 자동 초점 센서 위치가 많이 다른 경우: 제조상의 오차 때문에 뷰파인더 상의 자동 초점 포인트와 실제 자동 초점 센서 위치가 많이 다를 수 있다. 이런 경우 사용자의 의도와 다른 물체에 초점을 맞추게 되는 경우가 있다.
- 가까운 거리의 물체와 먼 거리의 물체가 중첩되었을 때(우리 안의 동물 등): 위 ‘물체가 초점 범위(자동 초점 센서가 커버하는 영역)보다 작은 경우’와 동일한 원인을 가진다.
- 반복적인 패턴(고층건물의 유리들): 두 센서로부터 얻어진 두 이미지를 비교할 때, 한 이미지의 특정 부분이 다른 이미지의 어떤 부분에 해당하는지 알 수 없기 때문이다(autocorrelation 실패.).
- 세밀한 디테일을 많이 포함하는 물체: 위 ‘반복적인 패턴’과 동일한 원인을 가진다.
- 선형 편광 필터(linear polarizing filter) 사용 시: 보통 빔 스플리터(beamsplitter) 거울을 통해 들어온 빛을 분석하므로 선형 편광 필터 사용시 작동하지 못할 수 있다. 따라서 원형 편광 필터(circular polarizing filter)를 사용해야 한다.[21]
이러한 경우 피사체와 똑같은 거리에 있는 다른 물체에 초점을 맞추거나 수동 초점 기능을 사용할 수 있다.
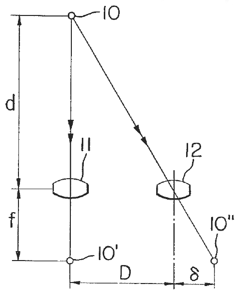
위상차 검출(PD)은 입사광을 이미지 쌍으로 나누어 비교함으로써 이루어진다. 렌즈를 통한 2차 이미지 등록(TTL SIR) 수동 위상차 검출은 필름 및 디지털 SLR 카메라에서 자주 사용된다. 이 시스템은 빔 분할기(주 반사 거울의 작은 반투명 영역과 작은 2차 거울로 구현됨)를 사용하여 카메라 하단의 AF 센서로 빛을 보낸다. 두 개의 마이크로 렌즈는 렌즈의 반대쪽에서 나오는 광선을 포착하여 AF 센서로 전환하여 렌즈 직경 내에 기준선을 가진 간단한 거리계를 만든다. 그런 다음 두 이미지를 유사한 광도 패턴(피크 및 밸리)에 대해 분석하고 분리 오류를 계산하여 물체가 전방 초점 위치에 있는지 후방 초점 위치에 있는지 찾는다. 이렇게 하면 방향과 필요한 초점 링 이동량의 추정치를 얻을 수 있다.[5]
연속 초점 모드(예: 캐논의 "AI 서보", 니콘의 "AF-C", 펜탁스 및 소니의 "AF-C")에서 PD AF는 폐 루프 제어 프로세스이다. 초점 고정 모드(예: 캐논의 "원 샷", 니콘 및 소니의 "AF-S")에서 PD AF는 "한 번 측정, 한 번 이동" 개방 루프 제어 프로세스인 것으로 널리 알려져 있지만 AF 센서가 초점이 맞는 피사체를 볼 때만 초점이 확인된다. 두 모드의 유일한 명백한 차이점은 초점 고정 모드가 초점 확인 시 중지되고 연속 초점 모드에는 움직이는 대상과 함께 작동하는 예측 요소가 있다는 것이다. 이는 동일한 폐 루프 프로세스임을 시사한다.[6]
AF 센서는 일반적으로 일차원적인 감광 스트립(높이가 픽셀 몇 개, 너비가 수십 개)이지만 일부 최신 카메라(캐논 EOS-1V, 캐논 EOS-1D, 니콘 D2X)는 사각형 모양의 TTL 영역 SIR 센서를 특징으로 하며 더 미세한 분석을 위해 이차원적인 강도 패턴을 제공한다. 크로스 타입 초점 포인트는 서로 90°로 지향된 센서 쌍을 가지고 있지만, 일반적으로 한 센서는 다른 센서보다 더 큰 조리개가 필요하다.
일부 카메라(미놀타 7, 캐논 EOS-1V, 1D, 30D/40D, 펜탁스 K-1, 소니 DSLR-A700, DSLR-A850, DSLR-A900)은 또한 추가적인 프리즘 및 센서 세트가 있는 몇 개의 "고정밀" 초점 포인트를 가지고 있다. 이러한 초점 포인트는 특정 기하학적 조리개에서 "빠른 렌즈"(일반적으로 f-넘버 2.8 이상)에서만 활성화된다. 확장된 정밀도는 "거리계"의 더 넓은 유효 측정 기준에서 비롯된다.
일부 최신 센서(예: Librem 5에 있는 센서)는 칩에 약 2%의 위상차 검출 픽셀을 포함한다. 적절한 소프트웨어 지원을 통해 위상차 검출 자동 초점이 가능하다.
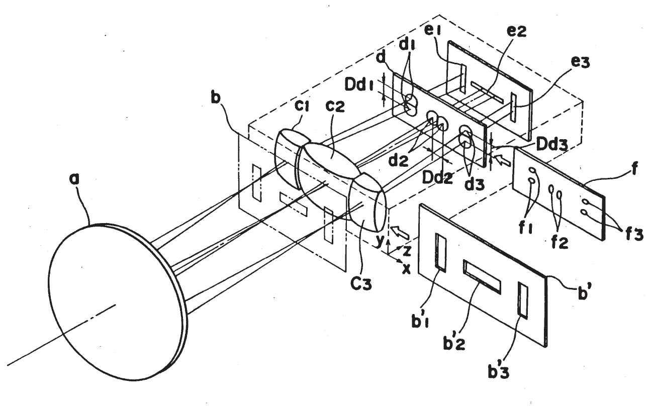
7 – 초점 검출을 위한 광학 시스템;
8 – 이미지 센서;
30 – 사진을 위한 광학 시스템의 출구 동공 근처 평면;
31, 32 – 영역 쌍;
70 – 창;
71 – 시야 마스크;
72 – 집광 렌즈;
73, 74 – 조리개 쌍;
75 – 조리개 마스크;
76, 77 – 재수렴 렌즈 쌍;
80, 81 – 광 수신부 쌍]]
위상차 AF 방식은 입사광을 두 개의 이미지로 분할하여, 결상된 두 이미지 사이의 간격으로부터 초점의 방향과 양을 판단하는 방식이다. 입사광의 분할에 세퍼레이터 렌즈를 필요로 하고, 전용 위상차 AF 센서가 필요하기 때문에 위상차 AF 방식은 일안 반사식 카메라에 탑재된다(후술할 면 위상차 AF 제외). AF 센서는 카메라의 바닥에 탑재되며, 시스템은 카메라 바닥의 AF 센서로 빛을 향하게 하기 위해 빔 스플리터(주 반사 미러의 일부를 반투과 영역으로 하고, 입사광을 AF 센서로 보내는 작은 부경과 조합하여 구성)을 사용한다. 두 개의 마이크로 렌즈는 렌즈의 반대쪽에서 오는 광선을 포착하여 AF 센서로 향하게 하여 렌즈의 직경 내에 기선을 가진 간단한 레인지 파인더를 만들어낸다. 그런 다음 두 이미지를 유사한 광 강도 패턴(산과 계곡)에 대해 분석하여 오차를 계산하여 피사체가 전핀인지 후핀인지 조사한다. 이를 통해 초점 링의 이동량과 이동 방향을 판단한다.
콘트라스트 AF에 비해 다음과 같은 장점과 단점이 있다.
장점 | 단점 |
---|---|
빠른 AF 동작이 가능하며, 움직이는 피사체를 촬영할 때 유효하다 |
위의 단점은 많지만, 움직이는 피사체는 콘트라스트 AF가 어려워하는 장면이므로 빠른 AF가 가능하다는 장점은 매우 크며, 스포츠 촬영이나 동물 촬영 등을 하는 경우에는 필수라고 할 수 있다.
AF 센서는 일반적으로 1차원 감광 스트립(높이가 몇 픽셀, 폭이 수십 픽셀)이지만, 최근 카메라(캐논 EOS-1V, 캐논 EOS-1D, 니콘 D2X 등)에서는 사각형 TTL-AREA-SIR이 되어 보다 정밀한 분석을 위해 2차원 명암도 패턴을 제공한다. 크로스 측거점은 서로 90° 방향을 향한 한 쌍의 센서를 가지고 있으며, 한 센서는 일반적으로 다른 센서보다 더 큰 개구부를 필요로 한다.
일부 카메라(미놀타7, 캐논 EOS-1V, 1D, 30D/40D, 소니 α700, α850, α900 등)에는 프리즘과 센서를 추가한 "고정밀" 초점이 몇 개 있다. 특정 개구 (일반적으로 F 값 2.8 이상)를 가진 "고속 렌즈"에서만 유효하다. 높은 정밀도는 "레인지 파인더"의 유효 기선 길이의 너비로부터 나온다.
위상차 AF 시스템의 구성: 7 - 초점 검출을 위한 광학 시스템; 8 - 이미지 센서; 30 - 촬영 광학계의 사출 동공 근방의 면; 31, 32 - 한 쌍의 영역; 70 - 윈도우; 71 - 시야 마스크; 72 - 컨덴서 렌즈; 73, 74 - 한 쌍의 개구부; 75 - 개구 마스크; 76, 77 - 재수렴 렌즈의 쌍; 80, 81 - 한 쌍의 수광부
3. 3. 하이브리드 자동 초점
하이브리드 자동 초점 시스템은 두 가지 이상의 자동 초점 방식을 결합하여 초점을 맞추는 방식이다. 일반적으로 다음과 같은 조합이 사용된다.- 액티브 방식과 패시브 방식
- 위상차 검출 방식과 콘트라스트 측정 방식
이러한 조합은 자동 초점(AF) 기능의 신뢰성, 정확성, 속도를 향상시키기 위해 사용된다. 각 방식의 약점을 서로 보완하는 것이 주된 목적이다.
초기 하이브리드 시스템의 예로는 액티브 IR 또는 초음파 자동 초점 시스템과 패시브 위상차 검출 시스템을 결합한 방식이 있다. IR 또는 초음파 시스템은 조명 조건과 관계없이 작동하지만, 유리창과 같은 장애물에 취약하고 정확도가 떨어진다. 반면 위상차 자동 초점은 유리창을 통과하여 초점을 맞출 수 있고 정확도가 높지만, 어두운 곳이나 콘트라스트가 낮은 표면에서는 작동이 어렵다.
1985년대부터 일안 반사식 카메라에 사용된 위상차 자동 초점 시스템은 AF 조명기를 통해 어두운 환경이나 평평한 표면에서도 작동하도록 개선되었다.
최근에는 패시브 위상차 자동 초점과 패시브 콘트라스트 자동 초점을 결합하고, 경우에 따라 액티브 방식의 지원을 받는 하이브리드 시스템이 사용된다. 위상차 자동 초점은 빠른 속도를, 콘트라스트 자동 초점은 높은 정확도를 제공하여, 두 방식을 결합함으로써 빠르고 정확한 자동 초점을 구현한다.
미러리스 카메라는 이미지 센서 자체에 위상차 AF 센서를 통합하는 추세이며, 이를 통해 콘트라스트 자동 초점 프로세스를 가속화하고 있다.
2010년 7월, 후지필름은 위상차 검출 요소와 콘트라스트 기반 요소를 결합한 하이브리드 자동 초점 시스템을 탑재한 소형 카메라 F300EXR을 발표했다.[7] 이 카메라는 Super CCD EXR 센서에 위상차 AF 센서를 통합했다. 후지필름 파인픽스 시리즈,[8] 후지필름 X100S, 리코, 니콘 1 시리즈, 캐논 EOS 650D/Rebel T4i, 삼성 NX300 등에서 하이브리드 자동 초점 시스템을 사용하고 있다.
4. 자동 초점 모드
카메라 제조사 및 모델에 따라 다양한 자동 초점 모드가 제공된다. 주요 자동 초점 모드는 다음과 같다:
- 원샷 AF(One-shot AF) 또는 싱글 서보 AF(Single-servo AF, AF-S): 반셔터를 누르면 피사체에 대해 초점을 맞추고 고정한다.
- AI 서보 AF(AI Servo AF) 또는 연속 서보 AF(Continuous-servo AF, AF-C): 반셔터를 누르고 있으면 피사체의 움직임에 따라 계속 초점을 변경한다. 스포츠 사진과 같이 움직이는 피사체 촬영에 유용하다.
- AI 포커스 AF(AI Focus AF) 또는 자동 AF-S/AF-C(Automatic AF-S/AF-C, AF-A): 원샷 AF 모드로 동작하다 피사체가 움직이면 AI 서보 AF 모드로 자동 변경된다.
4. 1. 일안 반사식 카메라의 자동 초점 모드
SLR 카메라의 자동 초점 모드는 다음과 같다.[19][20][21]- 원샷 오토포커스(One-shot AF, Single-servo AF, AF-S): 반셔터를 누르면 피사체에 대해 초점을 맞추고 고정한다. 제조사나 렌즈에 따라서는 이 상태에서 수동 초점이 가능하다. 연사 촬영 시 후반부 사진이나 단사 촬영에서도 초점이 맞지 않을 수 있다.
- 동체 추적 오토포커스(AI Servo AF, Continuous-servo AF, AF-C): 반셔터를 누르고 있으면 피사체의 움직임에 따라 계속 초점을 변경한다. 스포츠 사진과 같이 움직이는 피사체 촬영에 유용하다. 캐논의 SLR 카메라에서 사용되는 용어이며, 니콘, 소니, 펜탁스 등에서는 "연속 초점"(AF-C)으로 불린다.[13] 인공 지능(AI)을 이용하여 피사체의 위치를 예측하는 알고리즘을 사용한다.
- AI Focus AF(Automatic AF-S/AF-C, AF-A): 원샷 AF 모드로 동작하다 피사체가 움직이면 AI Servo AF 모드로 자동 변경된다.
일반적으로 거울로 광로를 꺾는 타입의 카메라는 필름면(또는 고체촬상소자) 반대쪽 광로상에 초점 조절용 라인 센서를 배치한다. 촬영 직전의 정보로 초점 서보를 구동하며, 용도에 따라 원샷 오토포커스와 동체 추적 오토포커스 방식이 선택된다.
5. 자동 초점과 보조광
빛이 적은 곳에서 자동 초점 방식의 동작을 원활하게 하기 위해 자동 초점 보조광(illuminator)을 사용한다.[19] 카메라 자체에 램프가 있거나, 외장 플래시에 램프가 있는 경우가 많다. 캐논 EOS 10D, 캐논 EOS 20D, 캐논 EOS 30D, 캐논 EOS 300D, 캐논 EOS 350D, 캐논 EOS 400D, 올림푸스 E-300, 올림푸스 E-500과 같은 몇몇 DSLR 카메라는 내장 플래시가 자동 초점 보조광 역할을 하기도 한다. 이러한 카메라도 외장 플래시를 장착하면 외장 플래시의 자동 초점 보조광을 사용한다.
6. 트랩 포커스
트랩 포커스, 포커스 트랩 또는 캐치 인 포커스라고도 불리는 이 방법은 피사체가 초점면(해당 초점 지점)으로 이동할 때 자동 초점을 사용하여 사진을 찍는 기술이다. 이 기술은 특히 스포츠나 야생 동물 사진에서 빠르게 움직이는 물체의 초점이 맞춰진 사진을 얻는 데 사용될 수 있으며, 사람이 없이 자동으로 사진을 찍을 수 있도록 "트랩"을 설정하는 데도 사용될 수 있다. 이는 자동 초점(AF)를 사용하여 초점을 ''감지''하지만 ''설정''하지 않는 방식으로 수행된다. 수동 초점을 사용하여 초점을 설정하거나(또는 초점이 설정된 후 수동으로 전환) ''초점 우선''(focus priority)을 사용하여 초점을 감지하고 물체가 초점에 들어왔을 때만 셔터를 누른다. 이 기술은 초점 조절을 선택하고(AF 끄기), 촬영 모드를 "단일" (AF-S)로 설정하거나, 더 구체적으로 초점 우선으로 설정한 다음 셔터를 누르는 방식으로 작동한다. 피사체가 초점에 들어오면 AF가 이를 감지하고(초점은 변경되지 않음) 사진이 찍힌다.[9][10][11]
트랩 포커스를 구현한 최초의 SLR은 야시카 230 AF였다. 트랩 포커스는 일부 펜탁스(예: K-x 및 K-5), 니콘, 캐논 EOS 카메라에서도 가능하다. EOS 1D는 연결된 컴퓨터의 소프트웨어를 사용하여 트랩 포커스를 수행할 수 있는 반면, EOS 40D 및 7D와 같은 카메라는 실패 후 카메라가 초점을 맞추려는 시도를 중단할 수 있는 사용자 지정 기능을 가지고 있다. 트랩 포커스가 없는 EOS 카메라에서는 "거의 트랩 포커스"라고 하는 해킹 기술을 사용하여 트랩 포커스의 일부 효과를 얻을 수 있다.[12] 사용자 지정 펌웨어인 매직 랜턴을 사용하면 일부 캐논 DSLR에서 트랩 포커스를 수행할 수 있다.
7. Focus motors
현대 자동 초점은 두 가지 메커니즘 중 하나를 통해 수행된다. 카메라 본체의 모터와 렌즈의 기어("스크류 드라이브")를 사용하거나, 마운트 플레이트의 접점을 통해 렌즈의 모터로 구동 지침을 전자적으로 전송하는 방식이다. 렌즈 기반 모터는 여러 유형이 있을 수 있지만, 종종 초음파 모터 또는 스테핑 모터이다.
보이스 코일 모터(VCM) 및 스테핑 모터와 같이 렌즈 요소를 움직여 정밀한 초점을 맞추는 데 자석이 자주 사용된다.[14] 자기장은 코일과 상호 작용하여 초점 요구 사항에 따라 렌즈 위치를 빠르고 정확하게 조정하는 움직임을 생성한다.[15] 자석은 직접적인 물리적 접촉 없이 부드럽고 빠른 조정을 가능하게 하여 내구성과 응답 시간을 향상시키므로 이 목적에 이상적이다.[16]
모든 캐논 EOS 바디와 니콘 DX 모델 중 예산 중심적인 일부 모델을 포함한 일부 카메라 바디는 자동 초점 모터를 포함하지 않으므로 내장 모터가 없는 렌즈로는 자동 초점을 사용할 수 없다. 펜탁스 DA* 렌즈로 지정된 모델과 같은 일부 렌즈는 일반적으로 내장 모터를 사용하지만, 카메라 바디가 필요한 접점 핀을 지원하지 않을 경우 스크류 드라이브 작동으로 전환할 수 있다.
참조
[1]
웹사이트
S System: Autofocus – Leica Fotografie International
http://www.lfi-onlin[...]
2009-05-15
[2]
웹사이트
Debut of Nikon F3
https://imaging.niko[...]
2024-11-10
[3]
웹사이트
Milestones - Asahi Optical Historical Club
http://www.aohc.it/c[...]
2021-08-29
[4]
논문
Non-Contact Dermatoscope with Ultra-Bright Light Source and Liquid Lens-Based Autofocus Function
2019-05-28
[5]
웹사이트
Nikon - Technology - Predictive Focus Tracking System
http://www.nikon.com[...]
2013-11-12
[6]
웹사이트
Busted! The Myth of Open-loop Phase-detection Autofocus
http://www.dpreview.[...]
[7]
간행물
Fujifilm Launches Powerhouse 15X Long Zoom Point and shoot Digital Camera: The FinePix F300EXR
http://www.fujifilmu[...]
2010-07-27
[8]
웹사이트
Fujifilm launches FinePix HS50EXR and HS35EXR high-end superzooms
http://www.dpreview.[...]
2013-06-08
[9]
문서
Trap Focus for Nikon Users
http://www.shutterst[...]
Kenneth William Caleno
2009-01-28
[10]
문서
How to shoot sport
http://www.kenrockwe[...]
Ken Rockwell
2006
[11]
문서
Focus Trap or Catch In Focus
http://photographyru[...]
2009-04-04
[12]
문서
EOS Documentation Project: Almost Trap Focus
http://eosdoc.com/ma[...]
Julian Loke
2010-08-18
[13]
웹사이트
Articles tagged "learn": Digital Photography Review
http://www.dpreview.[...]
[14]
웹사이트
Industries Applications
https://www.stanford[...]
2024-11-10
[15]
논문
Rapid and Precise Zoom Lens Design Based on Voice Coil Motors with Tunnel Magnetoresistance Sensors
[16]
특허
[17]
방송
プロジェクトX 第20回『誕生!人の目を持つ夢のカメラ
NHK
2000-08-29
[18]
웹사이트
自動焦点カメラ Auto Focus Camera
https://cir.nii.ac.j[...]
nii.ac.jp
2021-07-18
[19]
서적
Camera Technology - The Dark Side of the Lens
Academic Press
1992
[20]
웹인용
Predictive Focus Tracking System
http://www.nikon.com[...]
2009-02-05
[21]
서적
The Manual of Photography: Photographic and Digital Imaging (9th ed.)
Oxford: Focal Press
[22]
서적
Applied Photographic Optics
[23]
웹인용
Canon FD 35-70mm f4 Autofocus lens
http://www.mir.com.m[...]
2009-08-21
[24]
웹인용
An Independent Resource about Contax G1 and G2 Cameras
http://contaxg.com/c[...]
2005-12-14
[25]
웹인용
DCM AF 초점 조작 방법의 이해 - 작품은 정확한 초점 조작에서 시작된다
http://www.dcmcafe.c[...]
2009-08-21
[26]
문서
http://dougkerr.net/[...]
[27]
문서
Canon EOS-1D Mark II Instruction Manual
[28]
문서
Canon EOS-1D Mark III Instruction Manual
[29]
웹인용
Dual Cross-Hair Sensors
http://ca.konicamino[...]
2007-04-03
[30]
문서
The Nikon Guide to Digital Photography with the D2x
http://www.nikonusa.[...]
[31]
웹인용
Spherical aberration
http://www.vanwalree[...]
2007-09-29
[32]
웹인용
Tech Tips
http://www.digitaljo[...]
The Digital Journalist
2007-12-21
관련 사건 타임라인
( 최근 20개의 뉴스만 표기 됩니다. )
수동 촬영 기능 잘 쓰면 내 폰도 ‘전문가 카메라’ 김성주의 스마트폰 한 컷
후지필름, 렌즈 일체형 라지포맷 카메라 ‘GFX100RF’ 발표 – 바이라인네트워크
본 사이트는 AI가 위키백과와 뉴스 기사,정부 간행물,학술 논문등을 바탕으로 정보를 가공하여 제공하는 백과사전형 서비스입니다.
모든 문서는 AI에 의해 자동 생성되며, CC BY-SA 4.0 라이선스에 따라 이용할 수 있습니다.
하지만, 위키백과나 뉴스 기사 자체에 오류, 부정확한 정보, 또는 가짜 뉴스가 포함될 수 있으며, AI는 이러한 내용을 완벽하게 걸러내지 못할 수 있습니다.
따라서 제공되는 정보에 일부 오류나 편향이 있을 수 있으므로, 중요한 정보는 반드시 다른 출처를 통해 교차 검증하시기 바랍니다.
문의하기 : help@durumis.com